Timur 1 سال پیش
والد
کامیت
9b712f16dc

BIN
Лекции/ПМ3.1/3.1.400_Виды_паразитных_связей_и_наводок/emk.png


BIN
Лекции/ПМ3.1/3.1.400_Виды_паразитных_связей_и_наводок/gal.png


BIN
Лекции/ПМ3.1/3.1.400_Виды_паразитных_связей_и_наводок/ind.png


+ 45 - 0
Лекции/ПМ3.1/3.1.400_Виды_паразитных_связей_и_наводок/sivolobova.md

@@ -0,0 +1,45 @@
+# Виды паразитных связей и наводок
+
+В радиоэлектронных средствах и электрических приборах наряду с токопроводами, предусмотренными их схемами, возникают побочные пути, по которым распространяются электрические сигналы, в том числе опасные сигналы, возникающие в результате акустоэлектрического преобразования. Эти пути возникают в результате паразитных связей и наводок. Первоисточником их являются поля, создаваемые электрическими зарядами и токами в цепях радиоэлектронных средств и приборов.
+
+Постоянные электрические заряды и электрический ток в элементах и цепях радиосредств и электрических приборов создают соответствующие электрические и магнитные поля, а заряды и ток переменной частоты — электромагнитные поля. Поля распространяются в пространстве и воздействуют на элементы и цепи других 
+технических средств и систем. Поэтому любое радиоэлектронное средство или электрический прибор следует рассматривать как потенциальный источник угрозы
+безопасности информации.
+
+# Существует три вида паразитной связи:
+
+**1. Емкостная паразитная связь.** Возникает между любыми элементами схемы в результате воздействия электрического поля: радиоэлементами схемы и корпусом, проводами. При этом она пропорциональна диэлектрической проницаемости среды, диаметру провода и обратно пропорциональна расстоянию между проводами. ОТСС и ВТСС располагаются рядом, и, вследствие наличия емкостной паразитной связи, возможна передача защищаемей информации от ОТСС к ВТСС. Для определения величины такой наводки надо знать собственную емкость радиоэлектронного средства или электрического прибора, которую можно получить только экспериментальным путем.
+
+![](emk.png)
+
+Особенно опасна в цепях с высоким полным сопротивлением в ламповых каскадах и в каскадах на полевых транзисторах. Паразитная емкость, состоящая из междуэлектродной емкости транзистора и емкости монтажа, совместно с входной емкостью образуют делитель, через который часть выходного сигнала попадает снова на вход. Поскольку транзистор инвертирует сигнал, получившаяся обратная связь отрицательная, она приводит к снижению усиления и ограничению полосы пропускания по высоким частотам.
+
+Меры борьбы с такими паразитными связями - рациональный монтаж, обеспечивающий малую паразитную емкость и экранирование.
+
+Малейшая емкостная связь между контурами резонансного усилителя РЧ приводит к самовозбуждению. Дело в том, что резонансное сопротивление контуров велико и превосходит емкостное и индуктивное сопротивления конденсатора и катушки контура, достигая сотен тысяч килоом. Это приводит к критической связи контуров, при которой сигнал передается из контура в контур с ослаблением всего в два раза. Если между контурами включен усилитель с коэффициентом усиления К, то паразитную емкость надо уменьшить еще как минимум в К раз. Вот почему колебательные контуры почти всегда экранируют.
+
+**2. Паразитная индуктивная связь.** Образуется в результате воздействия магнитного поля. Обусловлена наличием взаимоиндукции между проводниками и деталями усилителя, главным образом между его трансформаторами. Паразитная индуктивная обратная связь возникает между трансформаторами усилителя, например между входным и выходным трансформаторами, может вызвать самовозбуждение в области рабочих частот и на гармониках.
+
+![](ind.png)
+
+Легче всего получается между катушками, имеющими значительные магнитные поля рассеяния. На промышленной частоте 50 Гц экраны из толстой стали ослабляют поле рассеяния в единицы, максимум в десятки раз. Помогают также короткозамкнутые витки из медной ленты вокруг всего трансформатора - в них поле рассеяния наводит токи, ослабляющие по закону электромагнитной индукции исходное поле.
+
+Особенно сильное поле рассеяния у магнитных антенн, и его нельзя устранить сплошным экранированием, поскольку нарушится сам принцип работы антенны. Магнитную антенну можно уберечь лишь от электрических, емкостных наводок, используя незамкнутые экраны. Поле магнитной антенны начинает заметно убывать на расстояниях порядка длины антенны. Если в этой зоне окажется другая неэкранированная катушка, паразитная связь обеспечена.
+
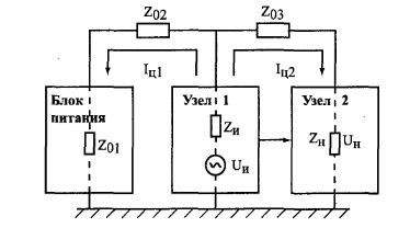
+**3. Гальваническая паразитная связь.** Возникает через общее активное сопротивление, входящее в состав нескольких цепей. Такими общими сопротивлениями могут быть сопротивление соединительных проводов и устройств питания и управления. Например, узлы и блоки компьютера, осуществляющего обработку информации, соединены с напряжением +5 В блока питания. Для установки «О» триггеров дискретных устройств на соответствующие их входы подается одновременно соответствующий сигнал управления.
+
+![](gal.png)
+
+Если побочные поля и электрические токи являются носителями защищаемой информации, то злоумышленник может получить доступ к ней через побочные связи и наводки. Следовательно, паразитные связи и наводки представляют собой побочные физические процессы и явления, которые могут приводить к утечке защищаемой информации. При этом возможность утечки зависит от множества факторов: конфигурации, размеров, расположения элементов относительно друг друга. За счет паразитных связей защищаемая информация может передаваться за пределы контролируемой зоны через кабели различных линий и цепей, среди которых наибольшую опасность представляют цепи электропитания, заземления и телефонные линии. В отличие от предусмотренных для связи функциональных антенн, конструкция и характеристики которых определяются при создании радиопередающих и радиоприемных средств, эти элементы можно назвать случайными антеннами.
+
+Случайными антеннами могут быть монтажные провода, соединительные кабели, токопроводы печатных плат, выводы радиодеталей, металлические корпуса средств и приборов и другие элементы средств. Параметры случайных антенн существенно хуже функциональных. Но из-за небольших расстояний между передающими и приемными  случайными антеннами они создают угрозы утечки информации. 
+
+Серьезную угрозу безопасности информации создают наводки сигналов ОТСС на провода и кабели, выходящие за пределы контролируемой зоны. Когда ток проходит по  проводникам первой цепи, вокруг них создается магнитное поле, силовые линии которого пронизывают проводники второй цепи. В результате этого по цепи потечет помимо основного еще и переходной ток, создающий помеху основному. Защищенность от взаимных помех оценивается переходным затуханием.
+
+Современная архитектура служебных помещений предусматривает создание между межэтажными перекрытиями и потолком свободного пространства для прокладки различных кабелей. Это создает дополнительные возможности для возникновения между проводами кабелей паразитных связей и появления опасных сигналов, распространяющихся за пределы контролируемой зоны.
+
+# Список литературы
+
+1. https://studfile.net/preview/4289573/page:42/
+2. Торокин А.А. Инженерно-техническая защита информации.
+3. https://studopedia.ru/18_70334_parazitnie-svyazi-i-navodki.html

+ 8 - 0
Лекции/ПМ3.1/3.1.400_Виды_паразитных_связей_и_наводок/vopros.md

@@ -0,0 +1,8 @@
+1.Что представляет собой емкостная паразитная связь?
+Емкостная паразитная связь возникает между любыми элементами схемы в результате воздействия электрического поля: радиоэлементами схемы и корпусом, проводами. При этом она пропорциональна диэлектрической проницаемости среды, диаметру провода и обратно пропорциональна расстоянию между проводами. ОТСС и ВТСС располагаются рядом, и, вследствие наличия емкостной паразитной связи, возможна передача защищаемей информации от ОТСС к ВТСС. Для определения величины такой наводки надо знать собственную емкость радиоэлектронного средства или электрического прибора, которую можно получить только экспериментальным путем.
+
+2.Что представляет собой индуктивная паразитная связь?
+Паразитная индуктивная связь образуется в результате воздействия магнитного поля. Обусловлена наличием взаимоиндукции между проводниками и деталями усилителя, главным образом между его трансформаторами. Паразитная индуктивная обратная связь возникает между трансформаторами усилителя, например между входным и выходным трансформаторами, может вызвать самовозбуждение в области рабочих частот и на гармониках.
+
+3.Что представляет собой гальваническая паразитная связь?
+Гальваническая паразитная связь возникает через общее активное сопротивление, входящее в состав нескольких цепей. Такими общими сопротивлениями могут быть сопротивление соединительных проводов и устройств питания и управления.